Ford patenta un conector de carga magnético
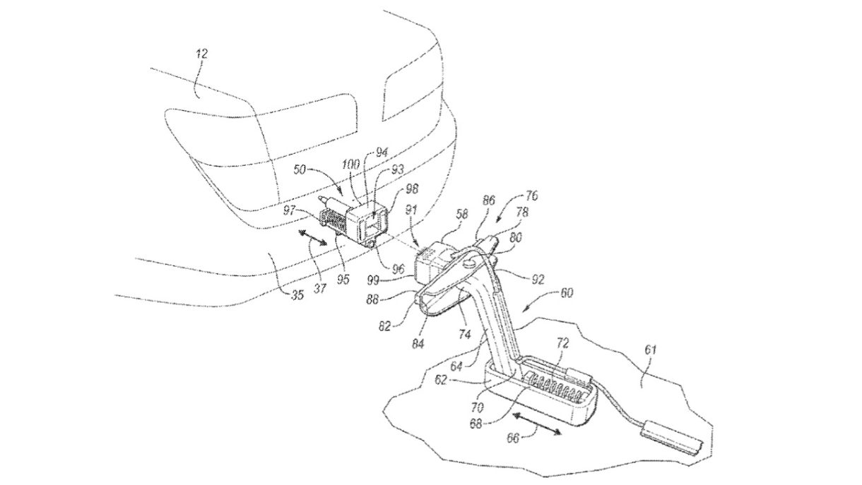
Ford ha presentado una solicitud de patente para un nuevo tipo de conector de carga para vehículos eléctricos basado en un conector de carga magnético. En la documentación presentada a la oficina de Marcas y Patentes de los Estados Unidos, USPTO, el 1 de noviembre de 2022, Ford describe el uso de atracción magnética para asegurar un conector de carga con un puerto de carga incrustado en el paragolpes de un vehículo.
La marca del óvalo tiene previsto que el conector de carga magnético se utilice para coches eléctricos e híbridos enchufables. Además, también se podrá utilizar en estaciones de carga de corriente alterna y corriente continua. El fabricante ha indicado que el conector magnético podría instalarse en los vehículos junto con los puertos de carga convencionales.
El sistema carece de cable por lo que el conductor tendrá que hacer más maniobras para alinearlo con la nueva estación de carga. Para que no exista ningún problema, la marca ha apuntado en la solicitud que diseñaría algún grado de articulación para permitir una conexión siempre que el conductor esté relativamente cerca del objetivo.
Así funciona el nuevo conector de carga magnético

Ford considera que se trata de una forma de carga conductiva, con una conexión física para transmitir electricidad, a diferencia de la carga inductiva ejemplificada por los sistemas de carga inalámbricos. Por tanto, el sistema magnético ayudará a alinear los conectores.
Deshacerse de la conexión física también es atractivo. El reciente robot de carga inductivo Ram Charger funciona sin él, presionando contra una plataforma de carga una vez alineado debajo del vehículo pero confiando en un campo magnético en el medio. El General Motors EV1 también usó una paleta de carga por inducción Magne-Charge única. Ford no ha confirmado planes para usar este novedoso conector de carga en futuros vehículos de producción. Entre los problemas potenciales se encuentran el desafío cosmético de integrar el puerto de carga con el paragolpes de un vehículo.

El desafío de eliminar los cables de carga, ha traído algunas patentes interesantes, como el cargador robótico con forma de serpiente que Tesla mostró en 2015. El fabricante de automóviles ahora parece más enfocado en reunir a otros fabricantes de automóviles para que usen su conector NACS. Por su parte, Aptera ha confirmado planes para utilizar el conector de Tesla, pero el argumento del fabricante de automóviles no parece haber generado mucho interés por parte de otras empresas.
Comentarios cerrados


Prueba Smartgyro Crossover X2 Pro: una fusión de potencia y estilo
¿Caldera de gas o bomba de calor? Descubre cuál es más eficiente y contamina menos
Paneles solares: una inversión rentable y sostenible para el futuro